Нефть и песок О стали Компрессор - подбор и ошибки Из истории стандартизации резьб Соперник ксерокса - гектограф Новые технологии производства стали Экспорт проволоки из России Прогрессивная технологическая оснастка Цитадель сварки с полувековой историей Упрочнение пружин Способы обогрева Назначение, структура, характеристики анализаторов Промышленные пылесосы Штампованные гайки из пружинной стали Консервация САУ Стандарты и качество Технология производства Водород Выбор материала для крепежных деталей Токарный резец в миниатюре Производство проволоки Адгезия резины к металлокорду Электролитическое фосфатирование проволоки Восстановление корпусных деталей двигателей Новая бескислотная технология производства проката Синие кристаллы Автоклав Нормирование шумов связи Газосварочный аппарат для тугоплавких припоев
Главная --> Промиздат -->  Коэффициент поперечной деформации 

1 2 3 4 5 6 7 8 9 10 11 12 13 14 15 16 17 18 19 20 21 22 23 24 25 26 27 28 29 30 31 32 33 34 35 36 37 38 39 40 41 42 43 44 45 46 47 48 49 50 51 52 53 54 55 56 57 58 ( 59 ) 60 61 62 63 64 65 66 67 68 69 70 71 72 73 74 75 76 77 78 79 80 81 82 83 84 85 86 87 88 89 90 91 92 93 94 95 96 97 98 99 100 101 102 103 104 105 106 107 108 109 110 111 112 113 114 115 116 117 118 119 120 121 122 123 124 125 126 127 128 129 130 131 132 133 134 135 136 137 138 139 140 141 142 143 144 145 146 147 148 149 150 151 152 153 154 155 156 157 158 159 160 161 162 163 164 165 166 167 168 169 170 171 172 173 174 175 176 177 178 179 180 181 182 183 184 185 186 187 188 189 190 191 192 193 194 195 196 197 198 199 200 201 202 203 204 205 206 207 208 209 210 211 212 213 214 215 216 217 218 219 220 221 222 223 224 225 226 227 228 229 230 231 232 233 234 235 236 237 238 239 240 241 242 243 244 245 246 247 248 249 250 251 252 253 254 255 256 257 258 259 260 261 262 263 264 265 266 267 268 269 270 271 272 273 274 275 276 277 278 279 280 281 282

Теперь можно подсчитать также и потенциальную энергию при ЧИСТОМ сдвиге. Считая, что сила Q приложена статически, можем выразить работу этой силы на перемещении А;

(половина вошла в формулу для Л, так как сила возрастает от нуля до конечного значения постепенно, - работа выражается площадью треугольника). Подставив значение А (10.23), получим:

=&=- < -2)

Поделив на объём v = aFy найдём значение удельной потенциальной энергии при чистом сдвиге:

(10.25)

К такому же результату можно было притти на основании формулы (7.26) § 41, рассматривая чистый сдвиг как сложное напряжённое состояние при главных напряжениях: oj = т, = О, 03 = - т.

ГЛАВА XI.

КРУЧЕНИЕ. ПРОВЕРКА ПРОЧНОСТИ И ВЫЧИСЛЕНИЕ ДЕФОРМАЦИЙ.

§ 55. Понятие о крутящем моменте.

Результаты, которые получены при изучении деформации сдвига, позволяют перейти к решению задачи о проверке прочности при кручении. С кручением на практике приходится встречаться очень часто: оси подвижного состава, трансмиссионные валы, элементы пространственных конструкций, пружины и даже обыкновенный замочный ключ - всё это примеры стержней, работающих на кручение.

Рассмотрим сначала задачу о скручивании валов круглого поперечного сечения.

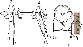
Представим себе (фиг. 119) вал CFy на

который насажены два шкива / и . Вал поддерживается подшипниками Су Dy Е и F). Шкив / передаёт валу вращение при помощи

) Подшипники считаем расположенными так, что изгибом вала можно пренебречь.


Фиг. 119.



ремённой передачи от электромотора. Шкив передаёт это враи;е-ние станку, с которым он соединён тоже при помощи ремня.

К шкиву / приложены силы натяжения ведущей и набегающей ветвей ремня, и /j, лежащие в плоскости, перпендикулярной к оси вала. Аналогично, к шкиву приложены силы натяжения ремня и /д.

Эти силы, с одной стороны, создают давление на подшипники (как и собственный вес шкивов), а с другой - образуют пары сил, лежащие в плоскости, перпендикулярной к оси вала. -ч г/\

Момент, передающийся от у шкива / на вал (фиг. 119), ( будет:

Аналогично, от шкива на вал передаётся момент М, направленный в противоположную сторону и равный -jf

Ж, = (Г,-/,)/?,.

При равномерном ходе ма- Фиг. 120.

шины все силы, действующие

на вал, находятся в равновесии; вращающий момент (Tj - i) всё время уравновешивается сопротивляющимся: (Г - /2)2 т. е.

(Л - i) Ri = (Т, -1,) R, = М,. (11.1)

Участок вала между центрами шкивов подвергается действию двух равных и противоположных пар сил, лежащих в плоскостях, перпендикулярных к оси вала: он скручивается. Деформация кручения, таким образом, вызывается парами сил, лежащими в плоскостях, перпендикулярных к оси стержня.

Момент пар, скручивающих вал, называется крутящим моментом. В рассмотренном случае величина его выражается формулой (11.1); но так как натяжения Т и t обычно неизвестны, то для вычисления применяется иной путь (§ 56).

Мы рассмотрели тот случай, когда на валу имеются лишь два шкива, передающих ему равные и противоположно направленные моменты М; тогда часть вала между шкивами скручивалась этим моментом М.

Бывают более сложные случаи, когда на валу насажено несколько шкивов; один - ведущий, остальные - ведомые; каждый шкив передаёт валу свой момент, и при равномерном ходе машины сумма всех моментов, действующих на вал, равна нулю.

На фиг. 120 показан вал, на который действуют моменты

Му Ml - в одну сторону (от ведущего шкива), М, Жа>




Mi - в другую сторону (от ведомых шкивов). При равномерном ходе вала

- Ж1 + Ж2 + Л1з + Л14 = 0.

Здесь крутящий момент на разных участках вала будет иметь различную величину. Часть вала слева от сечения /-/ будет находиться в равновесии под действием момента и касательных напряжений по сечению /-/; таким образом, для этого сечения будет равен М, Если же мы возьмём сечение 2-2 между шкивами / и 2, то напряжениям по этому сечению придётся уравновешивать сумму моментов, передаваемых на отсечённую левую часть шкивами I и 4у т, е. крутящий момент равен = - Mi,

К той же величине крутящего момента для сечения 2-2 мы пришли бы, если бы рассматривали равновесие правой отсечённой части, на которую действуют моменты М и М. В этом случае Mj = М-{- М] но из условия равновесия

Жз + Ж2 = Ж1 -Ж4.

Таким образом, крутящий момент в сечении 2-2 является одним и тем же по величине, будем ли мы рассматривать равновесие правой или левой части вала. Он равен сумме моментов, действующих на вал справа или слева от проведённого сечения. Знак крутящего момента будем считать по знаку внешних моментов, действующих слева от сечения, т. е. при взгляде слева вдоль оси вала момент, действующий по часовой стрелке, считаем положительным.

Величину крутящего момента на различных участках вала можно изобразить графически, построив так называемую эпюру крутящих моментов. Для этого под чертежом вала располагаем ось абсцисс и от неё откладываем ординаты, изображающие величину крутящего момента на каждом участке.

Пусть в предыдущем примере Mi = -- 600 кгм\ М = - 300 кгм\ Жз = -100 кгм] Mi = - 200 кгм. На фиг. 120 изображено распределение крутящих моментов по длине вала.

§ 56. Вычисление моментов, передаваемых на вал.

Для вычисления крутящих моментов необходимо знать моменты, передаваемые на вал каждым шкивом.

Эти моменты можно определить, если нам Фиг. 121. известны число оборотов вала и передавае-

мая шкивом мощность. Пусть (фиг. 121) на шкив действует пара сил с моментом М, Эту пару можно себе представить состоящей из двух сил Р, приложенных к окружности шкива. При вращении шкива она производит работу, величина



1 2 3 4 5 6 7 8 9 10 11 12 13 14 15 16 17 18 19 20 21 22 23 24 25 26 27 28 29 30 31 32 33 34 35 36 37 38 39 40 41 42 43 44 45 46 47 48 49 50 51 52 53 54 55 56 57 58 ( 59 ) 60 61 62 63 64 65 66 67 68 69 70 71 72 73 74 75 76 77 78 79 80 81 82 83 84 85 86 87 88 89 90 91 92 93 94 95 96 97 98 99 100 101 102 103 104 105 106 107 108 109 110 111 112 113 114 115 116 117 118 119 120 121 122 123 124 125 126 127 128 129 130 131 132 133 134 135 136 137 138 139 140 141 142 143 144 145 146 147 148 149 150 151 152 153 154 155 156 157 158 159 160 161 162 163 164 165 166 167 168 169 170 171 172 173 174 175 176 177 178 179 180 181 182 183 184 185 186 187 188 189 190 191 192 193 194 195 196 197 198 199 200 201 202 203 204 205 206 207 208 209 210 211 212 213 214 215 216 217 218 219 220 221 222 223 224 225 226 227 228 229 230 231 232 233 234 235 236 237 238 239 240 241 242 243 244 245 246 247 248 249 250 251 252 253 254 255 256 257 258 259 260 261 262 263 264 265 266 267 268 269 270 271 272 273 274 275 276 277 278 279 280 281 282